设为首页
收藏本站
登录
注册
找回密码
搜索
搜索
本版
帖子
用户
快捷导航
高恪官网
论坛
BBS
导读
Guide
高恪硬件
软路由下载
技术服务
帮助中心
高恪云
帮助高恪
GOCLOUD高恪网络
»
论坛
›
GOCLOUD高恪
›
需求与建议专区
›
新版本4.9 arp 绑定无法排序了!
返回列表
查看:
3630
|
回复:
2
新版本4.9 arp 绑定无法排序了!
[复制链接]
hydjq
hydjq
当前离线
积分
56
4
主题
56
帖子
56
积分
中级玩家
中级玩家, 积分 56, 距离下一级还需 144 积分
中级玩家, 积分 56, 距离下一级还需 144 积分
积分
56
发消息
发表于 2020-3-22 19:34:47
|
显示全部楼层
|
阅读模式
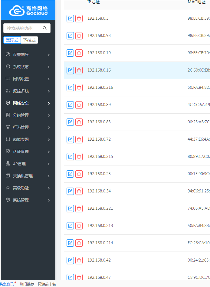
单位的所有电脑都是固定IP ,升级新版本后 网络安全-APR绑定 下面的ip 无法进行排序了,之前的版本可以点一下ip地址后 就会自动排序 ,新版本没法将ip地址进行排序了,能否默认就是按照IP地址从底到高的顺序排那?
IP 乱序
为啥说高恪是网络工程的一把屠龙刀? 看这一篇就够了
回复
使用道具
举报
heiyin
heiyin
当前离线
积分
1094
31
主题
674
帖子
1094
积分
中级达人
中级达人, 积分 1094, 距离下一级还需 906 积分
中级达人, 积分 1094, 距离下一级还需 906 积分
积分
1094
发消息
发表于 2020-3-22 22:04:34
|
显示全部楼层
能排序最好,
为啥说高恪是网络工程的一把屠龙刀? 看这一篇就够了
回复
支持
反对
使用道具
举报
hydjq
hydjq
当前离线
积分
56
4
主题
56
帖子
56
积分
中级玩家
中级玩家, 积分 56, 距离下一级还需 144 积分
中级玩家, 积分 56, 距离下一级还需 144 积分
积分
56
发消息
楼主
|
发表于 2020-3-28 14:35:19
|
显示全部楼层
官方也不给个解决方案吗??
为啥说高恪是网络工程的一把屠龙刀? 看这一篇就够了
回复
支持
反对
使用道具
举报
返回列表
高级模式
B
Color
Image
Link
Quote
Code
Smilies
您需要登录后才可以回帖
登录
|
立即注册
本版积分规则
发表回复
回帖后跳转到最后一页
浏览过的版块
固件发布
高恪技术直通车
网吧流控&文网卫士高恪流控专版
应用协议识别反馈专区
快速回复
返回顶部
返回列表