查看: 16994|回复: 7

[K2P] 求助,按时间段上网功能失效

[复制链接]

8

主题

45

帖子

58

积分

中级玩家

Rank: 2

积分
58
发表于 2020-9-20 15:58:22 | 显示全部楼层 |阅读模式
高恪AK系列硬件AP隆重上市
开学了,家里的网络要按时间段上网,按照论坛里的教程,设置无效。
固件版本4.2.6.15333,我的设置如下,请教有什么问题呢?
分组管理-MAC组
1.png


分组管理-时间组
2.png

3.png

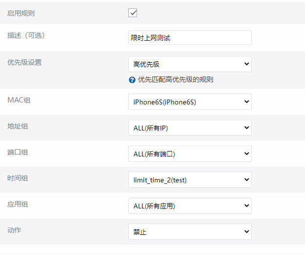
行为管理-一键管控-高级设置
4.png

5.png





回复

使用道具 举报

17

主题

1542

帖子

3643

积分

骨灰法师

Rank: 8Rank: 8

积分
3643
发表于 2020-9-20 16:16:59 | 显示全部楼层
高恪AK系列硬件AP隆重上市
设置完有无重启路由
回复 支持 反对

使用道具 举报

8

主题

45

帖子

58

积分

中级玩家

Rank: 2

积分
58
 楼主| 发表于 2020-9-20 16:35:48 | 显示全部楼层
lesing 发表于 2020-9-20 16:16
设置完有无重启路由

有重启过,还关闭手机无线网络后再打开,始终不起效。
回复 支持 反对

使用道具 举报

17

主题

1542

帖子

3643

积分

骨灰法师

Rank: 8Rank: 8

积分
3643
发表于 2020-9-20 16:42:36 | 显示全部楼层
windwing0325 发表于 2020-9-20 16:35
有重启过,还关闭手机无线网络后再打开,始终不起效。

固件版本太老了。更新一下吧
回复 支持 反对

使用道具 举报

8

主题

45

帖子

58

积分

中级玩家

Rank: 2

积分
58
 楼主| 发表于 2020-9-20 17:38:13 | 显示全部楼层
本帖最后由 windwing0325 于 2020-9-20 17:42 编辑
lesing 发表于 2020-9-20 16:42
固件版本太老了。更新一下吧

不是这个问题吧,我需要这个版本的NAT1。这个固件版本,至少在去年我还设置成功过,并且用了一段时间,后来取消了,今年7月份想用这个功能,就怎么也设置不成功了。
回复 支持 反对

使用道具 举报

31

主题

674

帖子

1094

积分

中级达人

Rank: 5Rank: 5

积分
1094
发表于 2020-9-20 22:47:07 | 显示全部楼层
恢复出厂设置然后再试试
回复 支持 反对

使用道具 举报

17

主题

1542

帖子

3643

积分

骨灰法师

Rank: 8Rank: 8

积分
3643
发表于 2020-9-21 08:32:33 | 显示全部楼层
windwing0325 发表于 2020-9-20 17:38
不是这个问题吧,我需要这个版本的NAT1。这个固件版本,至少在去年我还设置成功过,并且用了一段时间,后 ...

恢复出厂设置然后再试试
回复 支持 反对

使用道具 举报

8

主题

45

帖子

58

积分

中级玩家

Rank: 2

积分
58
 楼主| 发表于 2020-9-21 11:03:31 | 显示全部楼层
我的路由器里有很多设置,恢复出厂很麻烦,所以我从7月份开始断断续续试到现在
还有其他原因吗?会不会是哪个参数和时间段功能冲突了,就像开启SFE转发会导致流控失效一样。
官方有解答吗?
回复 支持 反对

使用道具 举报

您需要登录后才可以回帖 登录 | 立即注册

本版积分规则

快速回复 返回顶部 返回列表