查看: 2076|回复: 3

拨号指定pppoe服务器mac地址功能

[复制链接]

33

主题

425

帖子

1460

积分

中级达人

Rank: 5Rank: 5

积分
1460
发表于 2022-1-22 19:30:27 | 显示全部楼层 |阅读模式
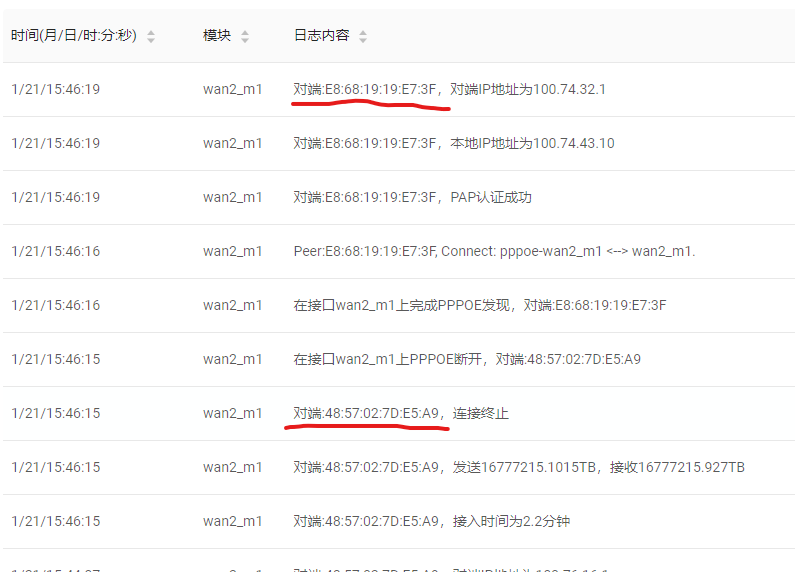
屏幕截图 2022-01-22 192753.png

江苏移动宽带测试
只有当多拨拨上不同mac地址对端的时候,速度才可以叠加。
希望可以在拨号设置处指定对端mac地址,这样就可以保证每次多拨都可以成功。
回复

使用道具 举报

20

主题

246

帖子

218

积分

高级玩家

Rank: 3Rank: 3

积分
218
发表于 2022-1-22 20:59:10 | 显示全部楼层
这个应该不支持的,对端不同意味这不同的服务器
回复 支持 反对

使用道具 举报

33

主题

425

帖子

1460

积分

中级达人

Rank: 5Rank: 5

积分
1460
 楼主| 发表于 2022-1-22 21:07:06 | 显示全部楼层
iSkyRoot 发表于 2022-1-22 20:59
这个应该不支持的,对端不同意味这不同的服务器

就是要不同的pppoe服务器才能叠加啊,一个wan口对应一个就ok了。
回复 支持 反对

使用道具 举报

20

主题

246

帖子

218

积分

高级玩家

Rank: 3Rank: 3

积分
218
发表于 2022-1-22 21:09:38 | 显示全部楼层
时子航 发表于 2022-1-22 21:07
就是要不同的pppoe服务器才能叠加啊,一个wan口对应一个就ok了。

这个你只能手动操作,对端MAC对应的是运营商设备,高恪最多做个监测的重播脚本,但是我估计高恪不会去搞这个
回复 支持 反对

使用道具 举报

您需要登录后才可以回帖 登录 | 立即注册

本版积分规则

快速回复 返回顶部 返回列表