设为首页
收藏本站
登录
注册
找回密码
搜索
搜索
本版
帖子
用户
快捷导航
高恪官网
论坛
BBS
导读
Guide
高恪硬件
软路由下载
技术服务
帮助中心
高恪云
帮助高恪
GOCLOUD高恪网络
»
论坛
›
GOCLOUD高恪
›
应用协议识别反馈专区
›
斯普林是什么应用
返回列表
查看:
2390
|
回复:
2
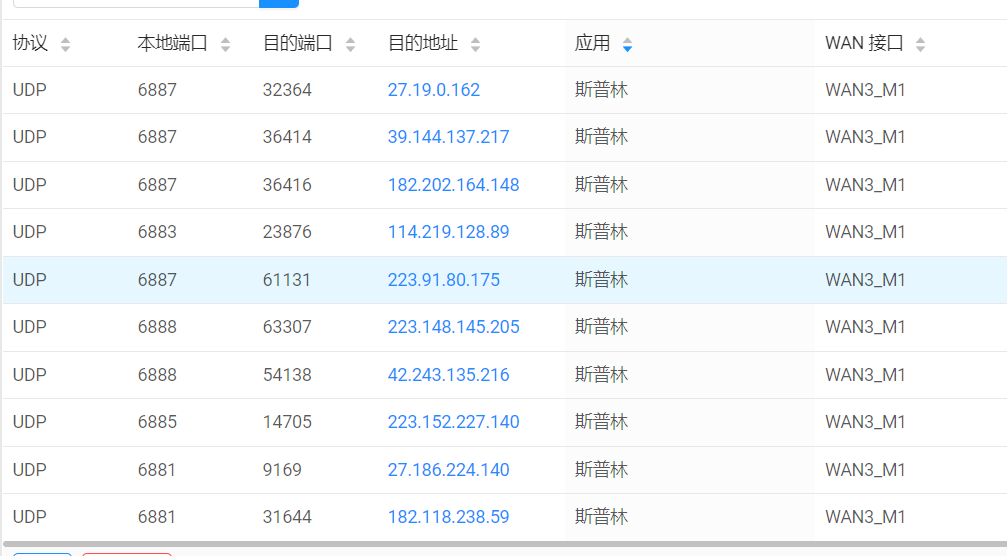
斯普林是什么应用
[复制链接]
价格表
价格表
当前离线
积分
49
4
主题
66
帖子
49
积分
初级玩家
初级玩家, 积分 49, 距离下一级还需 1 积分
初级玩家, 积分 49, 距离下一级还需 1 积分
积分
49
发消息
发表于 2022-7-1 02:15:22
|
显示全部楼层
|
阅读模式
?
为啥说高恪是网络工程的一把屠龙刀? 看这一篇就够了
回复
使用道具
举报
admin
admin
当前离线
积分
41209
375
主题
1万
帖子
4万
积分
管理员
积分
41209
发消息
发表于 2022-7-1 15:59:06
|
显示全部楼层
这是一款无盘应用。 应该是识别错了。
为啥说高恪是网络工程的一把屠龙刀? 看这一篇就够了
回复
支持
反对
使用道具
举报
返回列表
高级模式
B
Color
Image
Link
Quote
Code
Smilies
您需要登录后才可以回帖
登录
|
立即注册
本版积分规则
发表回复
回帖后跳转到最后一页
浏览过的版块
固件发布
需求与建议专区
网吧流控&文网卫士高恪流控专版
高恪技术直通车
快速回复
返回顶部
返回列表